
Introduction
Manipulating the cylinder on a main entrance door - or ‘bumping’ - is a common form of gaining access to a property.
Fortunately, it’s a simple DIY job to upgrade to a secure cylinder that clearly shows the BS Kitemark.
To further enhance security and provide a visual deterrent you may also wish to fit a security handle, which completely eliminates the risk of your cylinder being compromised.
A video demonstrating this can be found in the ‘how to’ section of the website.
Step 1 : Security Level
Look out for the Kitemark logo that gives the security level of the cylinder:
High security - 1 Star Cylinder |
Standard - no Kitemark |
| The best visual deterrent for your door, use with a 2 star security handle to protect against: |
Everyday locking solution, offering standard operation but limited security: |
![]() |
![]() |
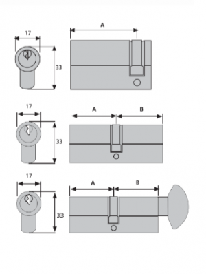
Step 2 : Getting the right size
When using the cylinder with a security handle please ensure the length of the external half is long enough to sit flush against the external handle when fitted. The backplate of the security handle is thicker than a standard handle so this will need to be taken into account when selecting the new cylinder size.
PVCu doors
On the open edge of the door look for the larger screw which falls in line with the bottom of the cylinder and remove screw. With the key inserted into the cylinder, turn slightly while pulling to enable the cylinder to be removed.
To replace the cylinder reverse the above procedure.
Timber doors
On the open edge of the door remove the two screws from the face plate, this will reveal another screw which falls in line with the bottom of the cylinder and remove screw. With the key inserted into the cylinder, turn slightly while pulling to enable the cylinder to be removed.
To replace the cylinder reverse the above procedure.
|
A = measurement from the centre of the cam to point A (refer to diagram)
|
![]() |
Single CylinderOpening from one side only (external side door) where security is required on one side and controlled access on the other. Double CylinderEnsures controlled access from both side of the locks. Thumbturn CylinderIdeal for locations that require controlled access from one direction and easy access from the other. |
![]() |



